Bio-Ammonia for fertilizer or fuel (a tale of two bacteria)
By Trevor Brown on September 15, 2017
Today, we saw probably the single most important announcement in the five years that I’ve been tracking sustainable ammonia production technologies.
Global ag-input giant Bayer and MIT-spin off Ginkgo Bioworks (“we design custom microbes”) announced a USD $100 million investment to engineer nitrogen-fixing bacteria into seed coatings, potentially displacing ammonia from its fertilizer market.
On the other side of the world, in the Philippines, researchers are developing another use for another bacteria: industrial-scale algal ammonia synthesis. This would allow ammonia to become a carbon-free biofuel, creating a new and much, much, much bigger market for ammonia: no longer fertilizer but energy.
Bayer & Ginkgo Bioworks
Q: What’s better than sustainable ammonia? What’s better than nitrogen efficiency?
A: Avoidance.
Essentially, the Bayer-Ginkgo venture aims to make nitrogen fertilizer obsolete.
If seeds could be planted with a built-in nitrogen-fixing microbiome, they would have no need for any nitrogen fertilizer: no ammonia, no urea, no MAP, DAP, AN, CAN, UAN, no nitrogen fertilizer industry.
If nitrogen-fixing bacteria were available to all crops, farmers could also avoid the environmental downsides of today’s nitrogen fertilizer usage: inefficiencies in nutrient uptake, due to atmospheric ammonia emissions (volatilization) and to polluting water run-off causing dead-zones (eutrophication).

In the US, perhaps 70% of the nitrogen fertilizer applied to fields in the Mid-West ends up washing out of those fields and flowing down the Mississippi River, eventually causing the 2017 record-breaking dead zone in the Gulf of Mexico. These inefficiencies equal huge wasted sums of money spent by farmers, and huge costs of pollution.
Today’s news was immediately picked up in the mainstream media:
Relying on fossil fuels to grow food was never exactly sustainable. But as the world thinks about what it will take to feed 9 billion people in a rapidly changing climate, it’s become unconscionable.
Wired, With designer bacteria, crops could one day fertilize themselves, 09/14/2017
And, for those who wish that synthetic fertilizers were avoidable, I pose the following math problem:
If every farmer in every country on every continent in the world used every inch of fertile land, sprinkled their fields with natural fertilizers, meticulously rotated their crops, and convinced everyone to eat a vegetarian diet, they could feed about four billion people.
Popular Science, Fertilizer has saved billions of lives, but it also has a dark side, 04/03/2017
The Bayer-Ginkgo investment announced today aims to bio-engineer bacteria with nitrogen-fixing traits.
Bacteria with these traits are already found in natural systems across the world, living in symbiotic relationships with legume crops like soy beans, peanuts, and lentils. These bacteria use the enzyme nitrogenase to fix (inert) atmospheric nitrogen into (biologically-available) reactive nitrogen. The bacteria provide the crops with nitrogen and the crops provide the bacteria with carbohydrates. These bacteria have been supplying legumes with fixed nitrogen for millennia, and they have been used by farmers to boost crop yields for decades.
Their nitrogen-fixing powers have never been truly commoditized, however. Incorporating these bacteria into seed-coatings would revolutionize both the practice and the economics of farming.
This is not the first partnership announced with this aim, but it is the largest and, probably, the most capable of achieving market penetration if it succeeds in developing its new product.
Bayer and Ginkgo Bioworks will create a new company focused on the plant microbiome. Improving the microbes’ ability to make nitrogen fertilizer available for plants, offers a major potential benefit to sustainable agriculture …
“The plant microbiome is one of the next frontiers in sustainable agriculture … And it may enable us to take a major leap in plant physiology: producing nitrogen fertilizer directly in the plant.”
Bayer press release, Bayer and Ginkgo Bioworks join forces for sustainable agriculture, 09/14/2017
Of course, $100 million is only a drop in the ocean. One of the investors Viking Global, is among the largest hedge funds in the world, founded by Andreas Halvorsen with roughly USD $32 billion assets under management.
Bayer, with its market capitalization just under EUR 100 billion, is about to complete the acquisition of another ag-input giant, Monsanto, in a deal reported to be worth USD $66 billion. This merger would create a new entity with EUR 2.5 billion to spend on research and development every year.
Together, the combined companies will have leading innovation capabilities and R&D technology platforms, with an annual pro-forma R&D budget of approximately EUR 2.5 billion. We expect this to result in significant and lasting benefits for farmers: from improved sourcing and increased convenience to higher yield, better environmental protection and sustainability.
Bayer website, Advancing Together: Bayer to Acquire Monsanto, accessed 09/14/2017
Bayer hasn’t spoken much about climate change. But Monsanto, for all its reputation as a corporate polluter, has pledged efforts to reduce its global carbon impact by 2021:
Monsanto Company today announced plans to make its operations carbon neutral by 2021 through a unique program targeted across its seed and crop protection operations, as well as through collaboration with farmers.
“Climate change is one of the biggest issues we face in agriculture, as well as one of the most pressing challenges facing humanity,”
Monsanto announcement, Monsanto Takes Action to Fight Climate Change with Carbon Neutral Crop Production Program, 12/01/2015
Today’s Bayer-Ginkgo announcement sets a concrete timeline for progress, with assets deployed to match the challenge of commercializing carbon-neutral technologies by 2022:
Part of the rationale in providing such a large investment is that it allows the companies to focus “entirely” on the challenge that they’re tasked with solving over the next four to five years, in this case nitrogen …
“Big challenges need big tools.”
Bloomberg, Bayer, Halvorsen’s Viking Make Record Wager on Farming Tech, 09/14/2017
Ginkgo Bioworks is a startup founded in 2009 by scientists from MIT. It is backed by $154 million in venture funding and will log more than $20 million in revenue during 2017. So far, its specialty is “making custom-designed cells for companies in the fragrance, food and pharmaceutical industries,” although it already makes some cells for agricultural clients.
Cyanobacteria
I wrote last week about research coming out of The Philippines to optimize ammonia production pathways for fuel. A big part of that project is the technology they have developed for the biological production of ammonia using bacteria.
This is quite different from the Bayer-Ginkgo effort. Instead of aiming to replace industrial ammonia production by making fertilizer unnecessary, Luis Razon and his team at De La Salle University are focused on a far bigger market: the “large-scale production of microalgae for fuel.”

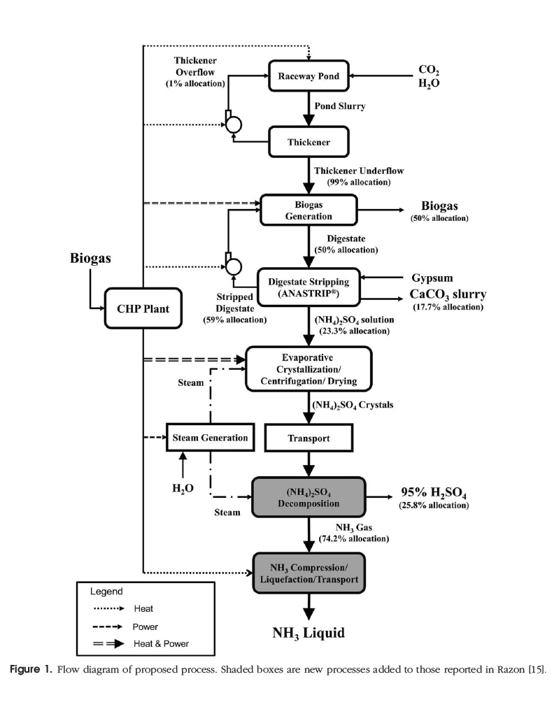
Aquatic cyanobacteria fix nitrogen from the air and have been mass-cultured for many uses. This study analyzes, on a life cycle basis, a process to culture the cyanobacterium, Anabaena sp. ATCC 33047, in open ponds; harvest the biomass and exopolysaccharides and convert these to biogas; strip and convert the ammonia from the biogas residue to ammonium sulfate; dry the ammonium sulfate solution to ammonium sulfate crystals; transport the ammonium sulfate and convert it to liquid ammonia and concentrated sulfuric acid. When compared to the ammonia produced via the Haber-Bosch process, savings of about 1.0 x 105 MJ of non-renewable energy and 3100 kg CO2 equivalent of global warming potential per 1000 kg of liquid ammonia might be possible.
Luis Razon, Life cycle analysis of an alternative to the Haber-Bosch process: Non-renewable energy usage and global warming potential of liquid ammonia from cyanobacteria, 07/17/2013
These are the same researchers from the Philippines about whom I wrote extensively last week, on the subject of Optimizing technology pathways for Ammonia Fuel: production, transportation, and use.
The excessive use of synthetic fixed nitrogen fertilizers has led to severe environmental effects, but fixed nitrogen is essential … Ammonia has been proposed as a non-carbon emitting alternative fuel that has many advantages over hydrogen … ammonia is an enabling technology for alternative fuels and carbon sequestration. Alternative processes for nitrogen fixation are very early in development. This paper offers the viewpoint that alternative means of nitrogen fixation and the wise use of fixed nitrogen need to be developed quickly.
Clean Technologies and Environmental Policy: Is nitrogen fixation (once again) “vital to the progress of civilized humanity”?, Luis Razon, 08/15/2014
Both projects focus on bacteria but, where Bayer-Ginkgo seeks to replace ammonia, this project in The Philippines seeks to replace only today’s synthesis technology: “Haber–Bosch ammonia may be replaced with ammonia from a biomass process which simultaneously generates renewable energy. The process is intrinsically safer than the Haber–Bosch process.”
You can also read the full article at AmmoniaIndustry.com.